P1dB only ships direct to US locations. All other global locations are serviced by our distribution partner, RFMW Ltd.
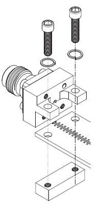
Description for Connector